產品導航
Product navigation
當前位置:首頁 > 技術資料
-
03-15
2022

新型Z型提升機料斗型號及材質改進及配置
Z型提升機整機是在密閉的箱體內通過懸掛在鏈條上的特殊定制料斗,結合鏈條格擋,來輸送粉狀和顆粒物料的,讓料斗使用料口朝上的一款新型的鏈斗式提升機,因為Z型提升機采用水平-垂直-水平的輸送方式,較于傳統的斗式提升機,...查看詳情>>
-
07-26
2021

碳素廠選哪種型號斗式提升機更合適
斗提機是顆粒料與粉狀料最有效的提升方式。根據不同行業不同用戶的需求,可把斗式提升機分為三種形式,皮帶提升機、環鏈提升機、板鏈斗式提升機。 但是在碳素廠輸送煅后石油焦這種物料時,有很多客戶提升煅后石油焦時選用的是環鏈...查看詳情>>
-
03-24
2021

砂石廠專用水泥砂石提升機技術改進效果
本技術涉及一種用于砂石廠水泥廠的水泥提升砂石提升機。斗式提升機是在一種封閉的機殼內通過牽引構件配備電機、減速機,帶動一系列料斗連續提升各種粉狀、粒狀或塊狀物料的輸送設備。在建筑行業中,提升機要用于砂石的的搬運,而在砂石的長時間搬運過程中,會...查看詳情>>
-
01-29
2021

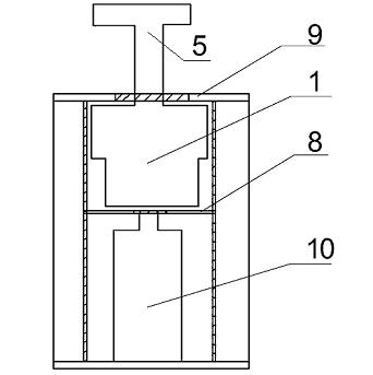
一種新型Z字型提升機設計技術及實用
背景技術:本技術涉及一種新型Z字型提升機。目前,Z型提升機主要應用于制藥工業物料的輸送、加料轉運。也可以和混合機、壓片機、膠囊填充機、包裝機等設備配套使用。同時在化工、食品等行業也有廣泛使用。在食品加工行業,經常會使用大型的食品粉碎機,一般...查看詳情>>
-
06-08
2020

板鏈斗式提升機鏈條導向裝置技術要素及特點
背景技術:本技術涉及一種斗式提升機,具體涉及一種板鏈斗式提升機鏈條導向裝置。目前,斗提機通過頭輪齒的轉動帶動輸送鏈條運行,將掛在鏈條上的料斗里的物料提升到預定高度,輸送鏈條的另一端與尾輪嚙合,頭輪和尾輪之間的輸送鏈條為自由狀態,一旦殼體安裝...查看詳情>>
-
05-15
2020

斗式提升機四連桿自動張緊裝置技術要素及特征
背景技術: 斗式提升機廣泛應用于化工、冶金、建材等工業過程中粉狀物料的輸送。其輸送方式分為鏈傳動和帶傳動,對應的牽引件主要為鏈條或者鋼絲膠帶,在設備的構成中,兩種輸送方式均必須配套相應的張緊裝置,以便在提升機運行的...查看詳情>>
-
04-16
2020

斗式提升機主軸軸承旋轉檢查輔助系統技術內容
背景技術: 本技術屬于提升機技術領域,特別是斗式提升機主軸軸承旋轉檢查輔助系統。根據試驗情況發現,由于提升機主軸軸承檢修時上部軸承座外殼可以吊開便于檢查,下部由于提升機主軸、滾筒及附件重量全部集中于此,想要檢查的話...查看詳情>>
-
02-27
2020

煤粉提升機專用冷卻機構技術改進及原理
背景技術:本技術涉及煤粉生產技術領域,具體為一種煤粉提升機專用冷卻機構。鑄鐵用濕型砂中加入煤粉,可以防止鑄件表面粘砂缺陷,改善鑄件的表面光潔度,并能減少夾砂缺陷,改善型砂的潰散功能,對于濕型球鐵件,還能有效的防止產生皮下氣孔,可用圓形渦流燃...查看詳情>>
-
02-09
2020

多斗板組件式提升機設計及制造技術
背景技術: 本技術涉及斗提機技術領域,具體為一種斗式提升機,該機是通過料斗和鏈輪的配合實現上下運輸物料的,因此料斗和鏈輪之間的連接必須牢靠穩定,現有技術中通常采用焊接或螺栓連接,這樣的連接方式,適用于運輸重量較小的...查看詳情>>
-
02-02
2020

垂直脫水撈坑斗式提升機技術改進及實用效益
技術領域:本技術涉及一種改進的提升機,適用于選煤廠產品的脫水和提升。其中脫水斗式提升機與跳汰機配合主要用于選后產品(矸石、中煤)的脫水和提升;撈坑斗式提升機主要用于跳汰溢流精煤和水采原煤的脫水和提升。目前,選煤廠選用的脫水撈坑斗式提升機為我...查看詳情>>
-
11-01
2019

水泥磨斗式提升機下料溜槽設計技術及改造方案
背景技術:本技術涉及一種水泥磨斗式提升機下料溜槽,屬水泥制造工業領域。水泥磨出料斗提機設備配置在實際運轉當中存在如下缺點:(1)在磨機生產中因熟料強度高易磨性差及大量摻入易磨性差的混合材,在提升輸送中下料溜槽(普通鋼板Q235)因磨損通孔現...查看詳情>>
-
10-31
2019

礦井提升機尾繩保護裝置實用技術
背景技術: 本技術涉及提升設備技術領域,尤其涉及一種防止礦井提升機尾繩被拉斷或絞斷的保護裝置。目前,大多數礦山采用的豎井垂直提升機,提升機的尾繩都較長,在提升作業中由于提升容器底部與尾繩相連的旋轉器發生故障,導致尾...查看詳情>>
-
10-26
2019

礦井提升機盤形閘活塞拆裝裝置設計技術圖解
背景技術: 本技術涉及提升機設備拆裝技術領域,尤其涉及一種礦井提升機盤形閘活塞拆裝裝置。目前,大多煤礦主副井提升系統的提升機的液壓制動系統采用的是盤形閘。該盤形閘一般包括活塞、設置在活塞內部的碟形簧、閘襯和閘盤,該...查看詳情>>
-
10-25
2019

斗式提升機堵料檢測裝置工作原理技術總結
背景技術: 本技術涉及斗式提升機,具體涉及用于檢測提升機是否堵料的斗式提升機堵料檢測裝置,該機是常用的一種用于將固體物料從低處往高處提升運送的設備。目前所使用的斗式提升機的結構為:包括提升機殼體,在提升機殼體的上部...查看詳情>>
-
10-19
2019

螺旋垂直提升機設計及制作技術總結
本設計相關提升機技術領域,特別是涉及一種螺旋垂直提升機,又稱垂直振動提升機。背景技術: 物料擠出,水冷切粒后,需通過振動篩篩選分級處理后收入儲料倉內進行儲藏,然而振動篩的出料口離地面高度很低,需要使用提升機將物料提...查看詳情>>

